技术分享及探讨
前言
很高兴给大家做一个技术分享及探讨。
下面给大家分享几个工作遇到有趣的例子。
docker
docker 进程
现象
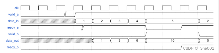
 客户的模型导入到BML平台发布预测服务后,模型本身是用django提供的支持。按照本地docker的方式进行调试,kill掉django的进程修改代码后重启进程服务,发现服务会重启。前提,客户是有一定的容器使用经验的。
原脚本如下:
#!/bin/bash
Nohup  nginx start > /dev/null 
Nohup  python mange.py runserver 127.0.0.1:8080   > /dev/null 
原因
 对linux系统来说1号进程为init进程,是由0号进程(内核进程)通过调用系统init函数创建的第一个用户进程1进程,主要做用户态进程的管理,垃圾回收等动作。
 对docker来讲1号进程大多数情况下都是服务进程,或者是用户自己开发的服务daemon进程,这也是瘦容器的理论,那服务进程作为1号进程有什么区别呢?
 docker进程管理的基础是LINUX内核中的PID命名空间技术,在不同PID名空间中,进程ID是独立的;即在两个不同名空间下的进程可以有相同的PID。这句话的意思就是docker通过空间技术进行了容器间的进程隔离。
 当创建一个Docker容器的时候,就会新建一个PID名空间。容器启动进程在该名空间内PID为1。
 当PID1进程结束之后,Docker会销毁对应的PID名空间,并向容器内所有其它的子进程发送SIGKILL。
容器的设计本身是“单进程”模型,容器=应用=进程。
方案:
加上一个前台进程也是pid=1的进程。
tail -f /etc/hosts
相关文档
BML模型纳管与模型调试
docker overlay 文件系统
背景
光大较为谨慎,采用的是双线加负载方式。所以生产环境部署BML4.3需要上线2套环境,需要在周末俩天之内部署完成,部署时间还是比较紧张。
 由于4.3部署采用的是镜像load的方式镜像,load镜像时间极长。并且是把镜像load到一个docker的挂载卷上。
分析
docker提供了两种 OverlayFS,一个是原本的 overlay文件系统,另一个是更新、更稳定的 overlay2。在日常使用中,应该更倾向于使用更好更稳定的 overlay2而不是 overlay。
查看/etc/docker/daemon.json文件来查看是用的那种方式。
{"storage-driver": "overlay2"
}
磁盘上的镜像和容器层
这里举拉取乌邦图镜像的例子来说明。
在使用指令docker pull ubuntu下载五层镜像的ubantu后,可以在/var/lib/docker/overlay2看到有六个目录。
$ ls -l /var/lib/docker/overlay2total 24
drwx------ 5 root root 4096 Jun 20 07:36 223c2864175491657d238e2664251df13b63adb8d050924fd1bfcdb278b866f7
drwx------ 3 root root 4096 Jun 20 07:36 3a36935c9df35472229c57f4a27105a136f5e4dbef0f87905b2e506e494e348b
drwx------ 5 root root 4096 Jun 20 07:36 4e9fa83caff3e8f4cc83693fa407a4a9fac9573deaf481506c102d484dd1e6a1
drwx------ 5 root root 4096 Jun 20 07:36 e8876a226237217ec61c4baf238a32992291d059fdac95ed6303bdff3f59cff5
drwx------ 5 root root 4096 Jun 20 07:36 eca1e4e1694283e001f200a667bb3cb40853cf2d1b12c29feda7422fed78afed
drwx------ 2 root root 4096 Jun 20 07:36 l
思考与方案
 将A集群load好的镜像docker卷打包,在B集群上进行解压,以此完成快速部署的目的。
这个也在事后提出,反馈并合并到后面的标版部署中。
缺点
 由于是解压后卷镜像挂载,不是导入的镜像,所以使用docker images 等命令 无法查看到相关的镜像。
整理如下命令,供参考
相应的参考命令:
#查询镜像
curl  <仓库地址>/v2/_catalog#查询镜像tag(版本)
curl  <仓库地址>/v2/<镜像名>/tags/list#查询镜像 digest_hash
curl --header "Accept:application/vnd.docker.distribution.manifest.v2+json" -I -XGET  <仓库地址>/v2/<镜像名>/manifests/<tag>#删除镜像API
curl -I -X DELETE "<仓库地址>/v2/<镜像名>/manifests/<镜像digest_hash>"
#查询镜像
[外链图片转存失败,源站可能有防盗链机制,建议将图片保存下来直接上传(img-NWsgcerW-1680159294012)(null)]
#查询镜像tag(版本)
[外链图片转存失败,源站可能有防盗链机制,建议将图片保存下来直接上传(img-3oEWYuwt-1680159294359)(null)]
docker 常见问题排查
场景一、生产集群磁盘爆满
根据目录查找所在的容器名称,找到对应的容器名称,根据对应的容器名称找到BMl 上对应的POD。
根据docker overylay2 目录下的文件夹名称 查找容器
docker ps -q | xargs docker inspect --format '{{.State.Pid}}, {{.Id}}, {{.Name}}, {{.GraphDriver.Data.WorkDir}}' | grep "文件夹名称"
最后发现是一个用户起的notebook,上传东西到容器内,将磁盘撑爆了。
场景二、物理机上某个线程占用GPU、CPU 高
方法一
根据pid 查找容器名称
[root@gzbh-intel016 ~]# cd /proc/74841
[root@gzbh-intel016 74841]# pwd
/proc/74841
[root@gzbh-intel016 74841]# ps -ef | grep 74841
root     74841 74840  1 Dec18 ?        03:49:46 bin/signature_handwriting
root     89107 20906  0 17:48 pts/2    00:00:00 grep --color=auto 74841
[root@gzbh-intel016 74841]# ps -ef | grep 74840
root     74840 74327  0 Dec18 ?        00:00:00 bin/supervise.signature_handwriting -p status/signature_handwriting -f bin/signature_handwriting 
root     74841 74840  1 Dec18 ?        03:49:47 bin/signature_handwriting
root     89663 20906  0 17:48 pts/2    00:00:00 grep --color=auto 74840
[root@gzbh-intel016 74841]# ps -ef | grep 74327
root     74327 74308  0 Dec18 ?        00:00:00 sh /home/work/app/console/all_start.sh 0 4g
root     74385 74327  0 Dec18 ?        00:00:00 sh java_start.sh
root     74389 74327  0 Dec18 ?        00:00:00 tail -f /etc/hosts
root     74840 74327  0 Dec18 ?        00:00:00 bin/supervise.signature_handwriting -p status/signature_handwriting -f bin/signature_handwriting 
root     91492 20906  0 17:48 pts/2    00:00:00 grep --color=auto 74327
[root@gzbh-intel016 74841]# 
[root@gzbh-intel016 74841]# ps -ef | grep 74308
root     74308 13670  0 Dec18 ?        00:01:05 docker-containerd-shim -namespace moby -workdir /data/lib/docker/containerd/daemon/io.containerd.runtime.v1.linux/moby/0000936684d05d4c98c67fa8606d89f367a7985a0d05449bbef812422897b1b2 -address /var/run/docker/containerd/docker-containerd.sock -containerd-binary /usr/bin/docker-containerd -runtime-root /var/run/docker/runtime-nvidia
root     74327 74308  0 Dec18 ?        00:00:00 sh /home/work/app/console/all_start.sh 0 4g
root     93870 20906  0 17:48 pts/2    00:00:00 grep --color=auto 74308
最重发现 物理机 路径为 /data/lib/docker/containerd/daemon/io.containerd.runtime.v1.linux/moby/0000936684
查找容器名称
[root@gzbh-intel016 0000936684d05d4c98c67fa8606d89f367a7985a0d05449bbef812422897b1b2]# pwd
/data/lib/docker/containerd/daemon/io.containerd.runtime.v1.linux/moby/0000936684d05d4c98c67fa8606d89f367a7985a0d05449bbef812422897b1b2
[root@gzbh-intel016 0000936684d05d4c98c67fa8606d89f367a7985a0d05449bbef812422897b1b2]# ll
total 0
[root@gzbh-intel016 0000936684d05d4c98c67fa8606d89f367a7985a0d05449bbef812422897b1b2]# docker ps -a | grep 0000936684
0000936684d0        244aea358579                                                                      "/bin/bash -ce 'sh /…"   11 days ago         Up 11 days                                          k8s_guangda-cursive_guangda-cursive-86d55fcf65-7dpsw_default_d0b3091b-5fc3-11ec-9318-bc97e1b8d4ae_0
可知容器名称为
k8s_guangda-cursive_guangda-cursive-86d55fcf65-7dpsw_default_d0b3091b-5fc3-11ec-9318-bc97e1b
方法二
根据进程号获取容器名称docker ps -q | xargs docker inspect -f '{{.State.Pid}} {{.Config.Hostname}}' | grep 2811再通过docker ps | grep 0bbea2sd3ds15 
便可获取到容器名称
场景三、GPU服务器上 启动docker容器识别不到GPU
概念
 为了让docker支持nvidia显卡,英伟达公司开发了nvidia-docker。该软件是对docker的包装,使得容器能够看到并使用宿主机的nvidia显卡。
正常机器的对比
GPU服务器的docker 与daemon.json
[root@instance-q2pzfrcc ~]# rpm -qa | grep docker
docker-ce-18.09.7-3.el7.x86_64
docker-ce-cli-18.09.7-3.el7.x86_64
nvidia-container-runtime-2.0.0-3.docker18.09.7.x86_64
nvidia-docker2-2.0.3-3.docker18.09.7.ce.noarch[root@gzbh-intel003 ~]# cat /etc/docker/daemon.json 
{"hosts": ["tcp://10.36.245.149:8137", "unix:///var/run/docker.sock"],"default-runtime": "nvidia","runtimes": {"nvidia": {"path": "/usr/bin/nvidia-container-runtime","runtimeArgs": []}}
}
CPU服务器的docker 与daemon.json
[root@instance-asdsadsadcds ~]# rpm -qa | grep docker
docker-ce-18.09.7-3.el7.x86_64
docker-ce-cli-18.09.7-3.el7.x86_64[root@gzbh-intelmbx001 images]# cat /etc/docker/daemon.json 
{"hosts": ["tcp://10.36.252.167:8137", "unix:///var/run/docker.sock"],"init": true,"init-path": "/usr/bin/docker-init","storage-opts": ["overlay2.override_kernel_check=true"]
}
原理
 nvidia-docker是一个可以使用GPU的docker,nvidia-docker是在docker上做了一层封装,通过nvidia-docker-plugin,然后调用到docker上,其最终实现的还是在docker的启动命令上携带一些必要的参数。因此在安装nvidia-docker之前,还是需要安装docker的。
 Nvidia-dockerNvidia提供Nvidia-docker项目,它是通过修改Docker的Runtime为nvidia runtime工作,当我们执行 nvidia-docker create 或者 nvidia-docker run时,它会默认加上 --runtime=nvidia 参数。将runtime指定为nvidia。当然,为了方便使用,可以直接修改Docker daemon 的启动参数,修改默认的 Runtime为 nvidia-container-runtime
[外链图片转存失败,源站可能有防盗链机制,建议将图片保存下来直接上传(img-tHfdELOp-1680159294138)(null)]
注意
 在docker19以前都需要单独下载nvidia-docker1或nvidia-docker2来启动容器,自从升级了docker19后跑需要gpu的docker只需要加个参数–gpus all 即可
docker run -d  -it -p 1518:1518 --name="centos"  --gpus all nvidia/cuda:9.1-cudnn7-runtime-centos7 /bin/bash
其他场景问题
1、镜像八小时问题。
2、root 与 普通用户切换问题。
3、docker 迁移存储目录
4、添加信任仓库。
5、容器启动不使用网桥默认网段。
参考文档:docker原理及运维
推荐工具
一、docker-compose
举例:
使用命令docker-compose -f *.yaml up -d 启动mysql
类似于k8s的yaml 编排。
 是单机管理,编排容器,可以同时管理多个 container ,将多个相关的容器⼀次性启动,⽐如运⾏⼀个jar需要依赖jdk、mysql、mq、redis等,这些容器只需要 docker-composer up 就可以全部启动,不需要⼀个个单独启动。
version: '2'
services:mysql-db:container_name: mysqlrestart: alwaysimage: mysql:5.7ports:- 3306:3306environment:TZ: Asia/ShanghaiMYSQL_ROOT_PASSWORD: 123456command:--character-set-server=utf8mb4--collation-server=utf8mb4_general_ci--explicit_defaults_for_timestamp=true--lower_case_table_names=1--max_allowed_packet=128M--sql-mode="STRICT_TRANS_TABLES,NO_AUTO_CREATE_USER,NO_ENGINE_SUBSTITUTION,NO_ZERO_DATE,NO_ZERO_IN_DATE,ERROR_FOR_DIVISION_BY_ZERO"volumes:- /Users/wangjinlong05/app/data/mysqldockerdata/data:/var/lib/mysql
二、portainer
适合客户侧容器小白使用
开启2375 docker远程管理端口
vim /usr/lib/systemd/system/docker.service
ExecStart=/usr/bin/dockerd -H unix://var/run/docker.sock -H tcp://0.0.0.0:2375
systemctl daemon-reload && systemctl restart docker拉取镜像
docker pull portainer/portainer 启动容器
docker run -d -p 9000:9000 \
-v /var/run/docker.sock:/var/run/docker.sock \
--restart=always  \
portainer/portainer如果已经启动可以更新
docker run -d -p 9000:9000\
-v /var/run/docker.sock:/var/run/docker.sock \
update --restart=always \
portainer/portainer
k8s
场景一:集群数据库迁移
背景
 客户测试环境部署4.3交付。
 原部署计划是由客户提供mysql集群,由我们部署对接,由于客户测试环境的mysql环境没提前准备好,所以我们集群自建mysql环境搭建。运行一个月后,客户要求BML的mysql 迁移对接到他们的mysql行内集群。
难点
 由于bml 部署配置繁杂,mysql 初始化地方极多,稍有不慎就会导致集群出现故障。迁移mysql 改造对接成本较高。
概念
[外链图片转存失败,源站可能有防盗链机制,建议将图片保存下来直接上传(img-SF48FwhD-1680159294081)(null)]
具体的四表
- filter表——涉及FORWARD、INPUT、OUTPUT三条链,多用于本地和转发过程中数据过滤;(负责过滤工程,防火墙 )
- Nat表——涉及PREROUTING、OUTPUT、POSTROUTTING三条链,多用于源地址/端口转换和目标地址/端口的转换;(网络地址转换功能 network address translate )
- Mangle表——涉及整条链,可实现拆解报文、修改报文、重新封装,可常见于IPVS的PPC下多端口会话保持。
-  (拆解报文,做出修改,并重新封装 )
- Raw表——涉及PREROUTING和OUTPUT链,决定数据包是否被状态跟踪机制处理,需关闭nat表上的连接追踪机制。
- (关闭nat表上启用的连接追踪机制)
具体的五链
- INPUT——进来的数据包应用此规则链中的策略
- OUTPUT——外出的数据包应用此规则链中的策略
- FORWARD——转发数据包时应用此规则链路中的策略
- PREROUTING——对数据包作路由选择前应用此链中的规则(所有的数据包进来的时候都先由这个链处理)
- POSTROUTING——对数据包作路由选择后应用此链中的规则(所有的数据包出来的时候都先由这个链处理)
链表关系
[外链图片转存失败,源站可能有防盗链机制,建议将图片保存下来直接上传(img-hgyLFrkx-1680159294199)(null)]
iptables处理动作
iptables处理动作除了 ACCEPT、REJECT、DROP、REDIRECT 、MASQUERADE 以外,还多出 LOG、ULOG、DNAT、RETURN、TOS、SNAT、MIRROR、QUEUE、TTL、MARK等。我们只说明其中最常用的动作:
REJECT 拦阻该数据包,并返回数据包通知对方,可以返回的数据包有几个选择:ICMP port-unreachable、ICMP echo-reply 或是tcp-reset(这个数据包包会要求对方关闭联机),进行完此处理动作后,将不再比对其它规则,直接中断过滤程序。 范例如下:
iptables -A INPUT -p TCP --dport 22 -j REJECT --reject-with ICMP echo-reply
DROP 丢弃数据包不予处理,进行完此处理动作后,将不再比对其它规则,直接中断过滤程序。
REDIRECT 将封包重新导向到另一个端口(PNAT),进行完此处理动作后,将会继续比对其它规则。这个功能可以用来实作透明代理 或用来保护web 服务器。例如:
iptables -t nat -A PREROUTING -p tcp --dport 80 -j REDIRECT–to-ports 8081
MASQUERADE 改写封包来源IP为防火墙的IP,可以指定port 对应的范围,进行完此处理动作后,直接跳往下一个规则链(mangle:postrouting)。这个功能与 SNAT 略有不同,当进行IP 伪装时,不需指定要伪装成哪个 IP,IP 会从网卡直接读取,当使用拨接连线时,IP 通常是由 ISP 公司的 DHCP服务器指派的,这个时候 MASQUERADE 特别有用。范例如下:
iptables -t nat -A POSTROUTING -p TCP -j MASQUERADE --to-ports 21000-31000
LOG 将数据包相关信息纪录在 /var/log 中,详细位置请查阅 /etc/syslog.conf 配置文件,进行完此处理动作后,将会继续比对其它规则。例如:
iptables -A INPUT -p tcp -j LOG --log-prefix “input packet”
SNAT 改写封包来源 IP 为某特定 IP 或 IP 范围,可以指定 port 对应的范围,进行完此处理动作后,将直接跳往下一个规则炼(mangle:postrouting)。范例如下:
iptables -t nat -A POSTROUTING -p tcp -o eth0 -j SNAT --to-source 192.168.10.15-192.168.10.160:2100-3200
DNAT 改写数据包包目的地 IP 为某特定 IP 或 IP 范围,可以指定 port 对应的范围,进行完此处理动作后,将会直接跳往下一个规则链(filter:input 或 filter:forward)。范例如下:
iptables -t nat -A PREROUTING -p tcp -d 15.45.23.67 --dport 80 -j DNAT --to-destination 192.168.10.1-192.168.10.10:80-100
MIRROR 镜像数据包,也就是将来源 IP与目的地IP对调后,将数据包返回,进行完此处理动作后,将会中断过滤程序。
QUEUE 中断过滤程序,将封包放入队列,交给其它程序处理。透过自行开发的处理程序,可以进行其它应用,例如:计算联机费用…等。
RETURN 结束在目前规则链中的过滤程序,返回主规则链继续过滤,如果把自订规则炼看成是一个子程序,那么这个动作,就相当于提早结束子程序并返回到主程序中。
MARK 将封包标上某个代号,以便提供作为后续过滤的条件判断依据,进行完此处理动作后,将会继续比对其它规则。
方案
 在不改变原集群任何的组件及配置的基础上进行使用iptables进行转发。
分为两部分:请求出去的时候转发,请求回来的时候处理转发。
 将mysql请求发送出去,不再由本机处理。
将请求到原地址36.6的3308转发到 3309
iptables -t nat -A PREROUTING -d 10.200.36.6 -p tcp -m tcp --dport 3308  -j DNAT --to-destination mysqlIP:3309说明: 修改nat表 在规则链的末尾加入新规则  PREROUTING链匹配来自36.6 端口3308的请求-j 进行DNAT 操作 目的地为 mysqlIP:3309 
将对方请求接收后,转发回给微服务。
比如bml-dataset 请求原地址的mysql ip端口,再由这个ip端口进行回应。
只要是从mysqlip 3309 过来的的通讯  POSTROUTING 到 36.6的3308上出去
iptables -t nat -A POSTROUTING -d mysqlIP -p tcp -m tcp --dport 3309 -j SNAT --to-source 10.200.36.6:3308
优缺点
优点; 对接改造成本比较低,执行两个规则即可。
缺点:所有的mysql请求都在一个节点上,做不到mysql的高可用(可接受)
综述:利大于弊。
场景二: 预测服务转发无效
背景
用户在集群上发布了俩个预测服务A和B,但是外面访问不到A服务,但是可以访问到B服务。
kubect 查看pod 正常,无日志输出。
概念
 kube-proxy通过观察Kubernetes中service和endpoint对象的变化,当有servcie创建时,kube-proxy在iptables中追加新的规则。对于service的每一个endpoint,会在iptables中追加一条规则,设定动作为DNAT,将目的地址设置成真正提供服务的pod地址;再为servcie追加规则,设定动作为跳转到对应的endpoint的规则上,
 默认情况下,kube-proxy随机选择一个后端的服务,可以通过iptables中的 -m recent 模块实现session affinity功能,通过 -m statistic 模块实现负载均衡时的权重功能
排查过程
 在Node节点上实现Pod网络代理,维护网络规则和四层负载均衡工作。实现让Pod节点(一个或者多个容器)对外提供服务
 service在逻辑上代表了后端的多个Pod,外借通过service访问Pod。service接收到请求就需要kube-proxy完成转发到Pod的。每个Node都会运行kube-proxy服务,负责将访问的service的TCP/UDP数据流转发到后端的容器。
第一步 初步怀疑kube-porxy
感觉问题出在kube-proxy上,之前有过类似问题排查结果。初步怀疑是转发规则创建问题。
kubectl delete pod kube-porxy ,
等待kube-porxy重启
。。。。。。。
没起作用。
第二步 重建规则
清空规则,重建规则
iptables -F
kubectl  delete pod  kube-porxy 
等待kube-porxy重启
。。。。。。。
没起作用。
第三步 排查创建的规则并且抓包
[root@nf52801602]# iptables -t nat -nvL  
Chain PREROUTING (policy ACCEPT 84 packets, 5040 bytes)pkts bytes target     prot opt in     out     source               destination         
5216M  752G KUBE-SERVICES  all  --  *      *       0.0.0.0/0            0.0.0.0/0            /* kubernetes service portals */37M 2240M CNI-HOSTPORT-DNAT  all  --  *      *       0.0.0.0/0            0.0.0.0/0            ADDRTYPE match dst-type LOCAL
查看svc的链 iptables -t nat -nvL KUBE-SERVICES
[root@nf52801602]# iptables -t nat -nvL    KUBE-SERVICES
Chain KUBE-SERVICES (2 references)pkts bytes target     prot opt in     out     source               destination         0     0 KUBE-MARK-MASQ  tcp  --  *      *      !10.233.64.0/18       10.233.0.55          /* default/redis-cluster-proxy:proxy cluster IP */ tcp dpt:77770     0 KUBE-SVC-3FNBBYIZCXANEL3B  tcp  --  *      *       0.0.0.0/0            10.233.0.55          /* default/redis-cluster-proxy:proxy cluster IP */ tcp dpt:7777
10.233.0.55 为svice ip
查看 KUBE-SVC-3FNBBYIZCXANEL3B链
[root@nf52801602]# iptables -t nat -nvL    KUBE-SVC-3FNBBYIZCXANEL3B
Chain KUBE-SVC-3FNBBYIZCXANEL3B (2 references)pkts bytes target     prot opt in     out     source               destination         0     0 KUBE-SEP-E3VN2RK7BFTPB2QU  all  --  *      *       0.0.0.0/0            0.0.0.0/0            statistic mode random probability 0.500000000000     0 KUBE-SEP-QWICKHRY75ZBMBDW  all  --  *      *       0.0.0.0/0            0.0.0.0/0   
发现2个pod是随机0.5概率
查看 KUBE-SEP-E3VN2RK7BFTPB2QU自定义链
[root@nf52801602]# iptables -t nat -nvL    KUBE-SEP-E3VN2RK7BFTPB2QU
Chain KUBE-SEP-E3VN2RK7BFTPB2QU (1 references)pkts bytes target     prot opt in     out     source               destination         0     0 KUBE-MARK-MASQ  all  --  *      *       10.233.64.160        0.0.0.0/0           0     0 DNAT       tcp  --  *      *       0.0.0.0/0            0.0.0.0/0            tcp to:10.233.64.160:7777
发现DNAT转发到10.233.64.160:7777 正是上面的 pod ip
SNAT
[root@nf52801602]# iptables -t nat -nvL  KUBE-POSTROUTING
Chain KUBE-POSTROUTING (1 references)pkts bytes target     prot opt in     out     source               destination         0     0 MASQUERADE  all  --  *      *       0.0.0.0/0            0.0.0.0/0            /* kubernetes service traffic requiring SNAT */ mark match 0x4000/0x4000
[root@yq01-aip-aikefu08 ~]# 
ok 没有问题。
抓包 tcpdump,使用wireshark分析,抓到了业务方请求。。
请求确实已经到达了我方。
[外链图片转存失败,源站可能有防盗链机制,建议将图片保存下来直接上传(img-99If7b73-1680159294305)(null)]
对pod中的veth 设备对抓包发现没有请求。
#!/bin/bash
for container in $(docker ps -q); do    iflink=`docker exec -it $container bash -c 'cat /sys/class/net/eth0/iflink'`    iflink=`echo $iflink|tr -d '\r'`    veth=`grep -l $iflink /sys/class/net/veth*/ifindex`    veth=`echo $veth|sed -e 's;^.*net/\(.*\)/ifindex$;\1;'`    echo $container:$veth
done
那就抓flannel.1网桥
tcpdump -i flannel.1  -nn icmp
分析一波,也有业务方请求。。
继续下一波
抓去cni,发现cni没有收到请求。
比较诡异,重启flannel.1 与cni后正常。
其他场景
1、k8s集群证书过期k8s证书相关
2、api-server宕掉。
3、单节点容器数量上限。
4、ipvs替换iptables.
5、k8s集群服务访问集群外服务coredns映射。
结尾
[外链图片转存失败,源站可能有防盗链机制,建议将图片保存下来直接上传(img-Rgbz5d1w-1680159294252)(null)]
今天我的分享就到这里,谢谢大家!
相关文章:
技术分享及探讨
前言 很高兴给大家做一个技术分享及探讨。 下面给大家分享几个工作遇到有趣的例子。 docker docker 进程 现象  客户的模型导入到BML平台发布预测服务后,模型本身是用django提供的支持。按照本地docker的方式进行调试,kill掉django的进程修改代码…...
人工智能AI
AI 模型。它使用深度神经网络,从数十亿或数万亿个单词中学习,能够生成任何主题或领域的文本。它可以执行各种自然语言任务,如分类、总结、翻译、生成和对话。 大语言模型开发建立在4个核心思想上: 模型 – Models 提示词 - Prompt…...
2022天梯赛补题
题目详情 - L2-041 插松枝 (pintia.cn) 思路:模拟 背包就是个栈,开个stack解决流程思路是,每次取推进器前,尽可能拿背包的,背包拿到不可以时,跳出拿推进器时判断: 如果背包装得下,…...
 
字节跳动测试岗面试挂在2面,复盘后,我总结了失败原因,决定再战一次...
先说下我基本情况,本科不是计算机专业,现在是学通信,然后做图像处理,可能面试官看我不是科班出身没有问太多计算机相关的问题,因为第一次找工作,字节的游戏专场又是最早开始的,就投递了…...
Nodejs实现通用的加密和哈希算法(MD5、SHA1、Hmac、AES、Diffie-Hellman、RSA),crypto模块详解
crypto crypto模块的目的是为了提供通用的加密和哈希算法(hash)。用纯JavaScript代码实现这些功能不是不可能,但速度会非常慢。Nodejs用C/C++实现这些算法后,通过cypto这个模块暴露为JavaScript接口,这样用起来方便,运行速度也快。 MD5和SHA1 MD5是一种常用的哈希算法,…...
 
测试行业3年经验,从大厂裸辞后,面试阿里、字节全都一面挂,被面试官说我的水平还不如应届生
测试员可以先在大厂镀金,以后去中小厂毫无压力,基本不会被卡,事实果真如此吗?但是在我身上却是给了我很大一巴掌... 所谓大厂镀金只是不卡简历而已,如果面试答得稀烂,人家根本不会要你。况且要不是大厂出来…...
安卓悬浮窗口, 丝滑双指缩放视频窗口
最重要的事情说前面: demo源码:https://github.com/5800LDW/ProjectFloatingWindow前言:1.跨应用的浮动窗口在网上很多资料, 就不细说了。2.双指缩放View 也很多资料, 可参考:https://blog.csdn.net/zxq614/article/details/88873729正文下面进入正题, 如何把上述结合起来, 下面…...
 
300左右哪款蓝牙耳机适合学生用?四款便宜质量好的蓝牙耳机推荐
近年来,随着蓝牙耳机的发展,不管是音质、外观、佩戴还是降噪都有了很大的提升。但是我们在入手蓝牙耳机时,最好还是根据预算和需求入手。在此,我来给预算在三百内的朋友推荐几款便宜质量好的蓝牙耳机,可以当个参考。 …...
 
桥梁设计模式
介绍 Java桥梁模式(也称桥接模式)(Bridge Pattern)是一种设计模式,它将抽象和实现分离,使它们可以独立地变化.它通过一个大类或者一系列紧密关联的类拆分成两个独立的层次结构来实现这种分离,其中一个层次结构包含抽象类或接口,另一个层次结构包含实现类.桥梁模式使得抽象类和…...
【华为OD机试 2023最新 】 新员工座位(C++)
文章目录 题目描述输入描述输出描述用例题目解析C++题目描述 工位由序列F1,F2…Fn组成,Fi值为0、1或2。其中0代表空置,1代表有人,2代表障碍物。 1、某一空位的友好度为左右连续老员工数之和, 2、为方便新员工学习求助,优先安排友好度高的空位, 给出工位序列,求所有空…...
蓝桥杯刷题第二十二天
第一题:受伤的皇后题目描述有一个 nn 的国际象棋棋盘(n 行 n 列的方格图),请在棋盘中摆放 n 个受伤的国际象棋皇后,要求:任何两个皇后不在同一行。任何两个皇后不在同一列。如果两个皇后在同一条 45 度角的…...
 
CentOS从gcc 4.8.5 升级到gcc 8.3.1
gcc -v查看当前gcc版本。 sudo yum install centos-release-scl-rh安装centos-release-scl-rh。 sudo yum install devtoolset-8-build安装devtoolset-8-build。 显示“Complete!”表示安装成功。 sudo yum install devtoolset-8-gdb安装devtoolset-8-gdb。 显示“Comple…...
 
【人人都能读标准】12. 原始类型的编码形式
本文为《人人都能读标准》—— ECMAScript篇的第12篇。我在这个仓库中系统地介绍了标准的阅读规则以及使用方式,并深入剖析了标准对JavaScript核心原理的描述。 ECMAScript有7种原始类型,分别是Undefined、Null、Boolean、String、Number、BigInt、Symbo…...
 
VUE进行前后端交互
目录 一、 跨域 1. 什么是跨域? 2. 什么是本域? 3. 浏览器请求的三种报错 二、SpringBoot解决跨域问题其他前后端跨域请求解决方案 1. SpringBoot上直接添加CrossOrigin 2. 处理跨域请求的Configuration 3. 采用过滤器的方式 3.1 方式一 3.2 方式…...
ThingsBoard Gateway:物联网设备数据采集与集成的强大解决方案
文章目录ThingsBoard Gateway:物联网设备数据采集与集成的强大解决方案1\. ThingsBoard Gateway:概述2\. 主要特点与优势3\. 应用场景4\. 如何使用ThingsBoard Gateway:物联网设备数据采集与集成的强大解决方案 随着物联网(IoT&a…...
什么是镜像/raid
镜像(Mirroring)是一种文件存储形式,是冗余的一种类型,一个磁盘上的数据在另一个磁盘上存在一个完全相同的副本即为镜像。可以把许多文件做成一个镜像文件,与GHOST等程序放在一个盘里用GHOST等软件打开后,又…...
 
【Python】如何有效比较两个时间序列在图形上的相似度?
文章目录前言一、1.准备二、实操1.使用Matplotlib可视化比较两个时间序列2.计算两个时间序列的相关系数:3.使用Python实现动态时间规整算法(DTW):总结前言 比较两个时间序列在图形上是否相似,可以通过以下方法&#x…...
 
JavaEE-常见的锁策略和synchronized的锁机制
目录常见的锁策略乐观锁和悲观锁轻量级锁和重量级锁自旋锁和挂起等待锁普通互斥锁和读写锁公平锁和非公平锁可重入锁和不可重入锁synchronized的锁机制synchronized特性锁升级/锁膨胀锁消除锁粗化常见的锁策略 乐观锁和悲观锁 乐观锁和悲观锁主要是看主要是锁竞争的激烈程度.…...
 
信息化,数字化,智能化是三种不同的概念吗?
前两年流行“信息化”,网上铺天盖地都是关于“信息化”的文章,这两年开始流行起“数字化”,于是铺天盖地都是“数字化”的文章。(这一点从数字化和信息化这两个关键词热度趋势就可以看出来)。 但点开那些文章仔细看看…...
【华为OD机试 2023最新 】 匿名信(C++ 100%)
题目描述 电视剧《分界线》里面有一个片段,男主为了向警察透露案件细节,且不暴露自己,于是将报刊上的字减下来,剪拼成匿名信。 现在又一名举报人,希望借鉴这种手段,使用英文报刊完成举报操作。 但为了增加文章的混淆度,只需满足每个单词中字母数量一致即可,不关注每个…...
 
idea大量爆红问题解决
问题描述 在学习和工作中,idea是程序员不可缺少的一个工具,但是突然在有些时候就会出现大量爆红的问题,发现无法跳转,无论是关机重启或者是替换root都无法解决 就是如上所展示的问题,但是程序依然可以启动。 问题解决…...
基于大模型的 UI 自动化系统
基于大模型的 UI 自动化系统 下面是一个完整的 Python 系统,利用大模型实现智能 UI 自动化,结合计算机视觉和自然语言处理技术,实现"看屏操作"的能力。 系统架构设计 #mermaid-svg-2gn2GRvh5WCP2ktF {font-family:"trebuchet ms",verdana,arial,sans-…...
 
使用VSCode开发Django指南
使用VSCode开发Django指南 一、概述 Django 是一个高级 Python 框架,专为快速、安全和可扩展的 Web 开发而设计。Django 包含对 URL 路由、页面模板和数据处理的丰富支持。 本文将创建一个简单的 Django 应用,其中包含三个使用通用基本模板的页面。在此…...
服务器硬防的应用场景都有哪些?
服务器硬防是指一种通过硬件设备层面的安全措施来防御服务器系统受到网络攻击的方式,避免服务器受到各种恶意攻击和网络威胁,那么,服务器硬防通常都会应用在哪些场景当中呢? 硬防服务器中一般会配备入侵检测系统和预防系统&#x…...
MVC 数据库
MVC 数据库 引言 在软件开发领域,Model-View-Controller(MVC)是一种流行的软件架构模式,它将应用程序分为三个核心组件:模型(Model)、视图(View)和控制器(Controller)。这种模式有助于提高代码的可维护性和可扩展性。本文将深入探讨MVC架构与数据库之间的关系,以…...
 
C# 类和继承(抽象类)
抽象类 抽象类是指设计为被继承的类。抽象类只能被用作其他类的基类。 不能创建抽象类的实例。抽象类使用abstract修饰符声明。 抽象类可以包含抽象成员或普通的非抽象成员。抽象类的成员可以是抽象成员和普通带 实现的成员的任意组合。抽象类自己可以派生自另一个抽象类。例…...
LLM基础1_语言模型如何处理文本
基于GitHub项目:https://github.com/datawhalechina/llms-from-scratch-cn 工具介绍 tiktoken:OpenAI开发的专业"分词器" torch:Facebook开发的强力计算引擎,相当于超级计算器 理解词嵌入:给词语画"…...
 
多模态大语言模型arxiv论文略读(108)
CROME: Cross-Modal Adapters for Efficient Multimodal LLM ➡️ 论文标题:CROME: Cross-Modal Adapters for Efficient Multimodal LLM ➡️ 论文作者:Sayna Ebrahimi, Sercan O. Arik, Tejas Nama, Tomas Pfister ➡️ 研究机构: Google Cloud AI Re…...
 
网络编程(UDP编程)
思维导图 UDP基础编程(单播) 1.流程图 服务器:短信的接收方 创建套接字 (socket)-----------------------------------------》有手机指定网络信息-----------------------------------------------》有号码绑定套接字 (bind)--------------…...
 
如何在最短时间内提升打ctf(web)的水平?
刚刚刷完2遍 bugku 的 web 题,前来答题。 每个人对刷题理解是不同,有的人是看了writeup就等于刷了,有的人是收藏了writeup就等于刷了,有的人是跟着writeup做了一遍就等于刷了,还有的人是独立思考做了一遍就等于刷了。…...
